Mitigeur de lavabo automatique TEMPOMATIC MIX
Réf. 20464T1
Bec orientable H.165 L.160
Bec orientable H.165 L.160
DESCRIPTION
Mitigeur de lavabo automatique TEMPOMATIC MIX
Réf. 20464T1Mitigeur électronique de lavabo à bec haut orientable L.160 H.165.
Boîtier électronique IP65 indépendant.
Alimentation par piles 123 Lithium 6 V.
Débit préréglé à 4 l/min à 3 bar, ajustable de 1,5 à 6 l/min avec brise-jet antitartre adapté à la pose d'un filtre terminal BIOFIL.
Corps et bec à intérieur lisse (limitent les niches bactériennes).
Rinçage périodique paramétrable (préréglé à ̴60 sec toutes les 24h après la dernière utilisation afin d’éviter les stagnations dans le réseau en cas de non utilisation prolongée).
Possibilité de réaliser un choc thermique.
Détecteur de présence infrarouge antichoc.
Corps et bec en laiton massif chromé avec fixation renforcée par 2 tiges Inox.
Réglage de température par levier Hygiène L.100.
Flexibles PEX avec filtres et électrovannes M3/8".
Sécurité antiblocage en écoulement.
Electrovannes en amont de la chambre de mélange.
Certifié NF Médical.
Garantie 30 ans.
Boîtier électronique IP65 indépendant.
Alimentation par piles 123 Lithium 6 V.
Débit préréglé à 4 l/min à 3 bar, ajustable de 1,5 à 6 l/min avec brise-jet antitartre adapté à la pose d'un filtre terminal BIOFIL.
Corps et bec à intérieur lisse (limitent les niches bactériennes).
Rinçage périodique paramétrable (préréglé à ̴60 sec toutes les 24h après la dernière utilisation afin d’éviter les stagnations dans le réseau en cas de non utilisation prolongée).
Possibilité de réaliser un choc thermique.
Détecteur de présence infrarouge antichoc.
Corps et bec en laiton massif chromé avec fixation renforcée par 2 tiges Inox.
Réglage de température par levier Hygiène L.100.
Flexibles PEX avec filtres et électrovannes M3/8".
Sécurité antiblocage en écoulement.
Electrovannes en amont de la chambre de mélange.
Certifié NF Médical.
Garantie 30 ans.
Prix public indicatif HT France 2026 : 611,92 €
AVANTAGES

Purge automatique antiprolifération bactérienne

Corps/bec à intérieur lisse limitant les bactéries

Fractionnement du puisage, débit préréglé 4 l/min

Détection infrarouge sans aucun contact manuel
CARACTÉRISTIQUES TECHNIQUES
Mitigeur de lavabo automatique TEMPOMATIC MIX
Réf. 20464T1| Alimentation | Piles Lithium 6 V |
| Raccordement | M3/8" |
| Technologie | Électronique |
| Hauteur | 280 mm |
| Hauteur de goutte | 165 mm |
| Longueur de bec | 160 mm |
| Débit | 4 l/min |
| Finition | Laiton chromé |
| Normes et certifications |
|
| Garantie | |
| Réparabilité | ![]() |
Pièces détachées
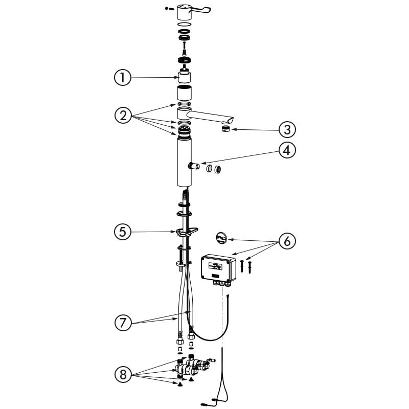
PIÈCES DÉTACHÉES
Mitigeur de lavabo automatique TEMPOMATIC MIX
Réf. 20464T1
| 1. | N201AG75 |
|
Cartouche céramique séquentielle Ø40 |
| 2. | 753256 |
|
Pochette de joints |
| 3. | 921024.2P |
|
Brise-jet étoile |
| 4. | CEL378V |
|
Détecteur |
| 5. | 256P |
|
Platine de fixation |
| 6. | 495446BC |
|
Boîtier électronique |
| 7. | 2510SES |
|
Kit de serrage |
| 8. | FLEXPEX3 |
|
Raccords flexibles PEX F3/8" |
| 9. | 495606 |
|
Electrovanne |
VARIANTES
| 20871T1 | Alimentation sur secteur - Bec déclipsable jetable H.160 L.180 | 540,03 € HT | |
|---|---|---|---|
| 20870T1 | Alimentation sur secteur - Bec déclipsable Inox H.160 L.183 | 625,94 € HT | |
| 20164T1 | Alimentation sur secteur - Bec orientable non déclipsable H.165 L.160 | 540,03 € HT |
VARIANTES
| 20871T1 | Alimentation sur secteur - Bec déclipsable jetable H.160 L.180 | 540,03 € HT | |
|---|---|---|---|
| 20870T1 | Alimentation sur secteur - Bec déclipsable Inox H.160 L.183 | 625,94 € HT | |
| 20164T1 | Alimentation sur secteur - Bec orientable non déclipsable H.165 L.160 | 540,03 € HT |
